Description
Brand: Classic Performance
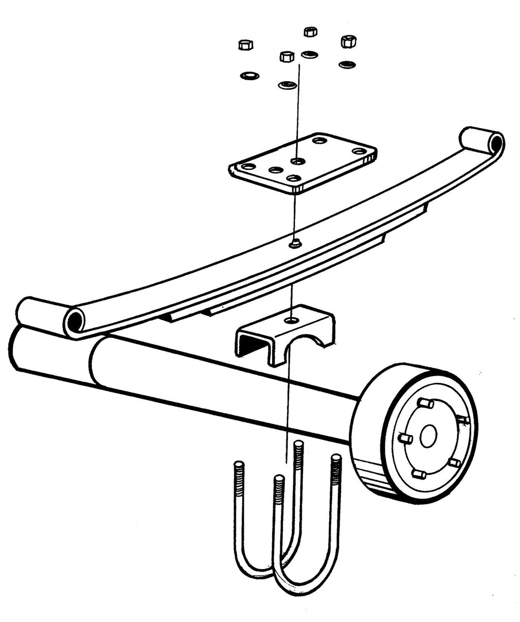
Manufacturer's Part Number: 5559RCK
Part Type: Leaf Spring Conversion Kits
HP Direct Part Number: CLP-5559RCK
Manufacturer's Part Number: 5559RCK
Part Type: Leaf Spring Conversion Kits
HP Direct Part Number: CLP-5559RCK
Payment & Security
Your payment information is processed securely. We do not store credit card details nor have access to your credit card information.


